# VESTA-206N

**PRL-3-F1**

## **Relästyrning**

<figure><img src="https://3303998015-files.gitbook.io/~/files/v0/b/gitbook-x-prod.appspot.com/o/spaces%2FZJzpNocHhYVmD43GZobR%2Fuploads%2F9skcbfciFzWSPkMoQ4pn%2Fimage.png?alt=media&#x26;token=e87a15be-b013-4bbe-b2b7-174ab6732873" alt=""><figcaption></figcaption></figure>

## Introduktion

PRL-3-AC är en relästyrning som kan kopplas till en trådbunden enhet och ställas in på normalt öppet (N.O.) läge. Efter att ha lärts in i kontrollpanelen kan relästyrningen styras via panelens webbsida för att fjärröppna och stänga den anslutna enheten.

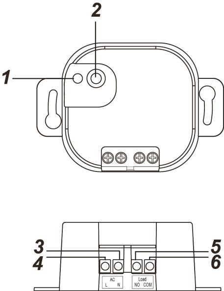
## Delaridentifiering

### 1. LED-indikator

LED-indikatorn används för att visa relästatus:

* På: Relästyrningen är påslagen.
* Av: Relästyrningen är avstängd.
* Blinkar två gånger: När den slås på.
* Blinkar långsamt: I inlärningsläge.
* Blinkar tre gånger: När inlärningen lyckats.
* Blinkar kort: RF-signal överförs

### 2. Testknapp

* Håll knappen intryckt i 3 sekunder för att skicka en inlärningskod.
* Håll ned knappen när du slår på relästyrningen, släpp sedan knappen när LED-lampan tänds för att återställa till fabriksinställningar.
* Tryck på knappen för att slå reläet PÅ/AV.

<figure><img src="https://3303998015-files.gitbook.io/~/files/v0/b/gitbook-x-prod.appspot.com/o/spaces%2FZJzpNocHhYVmD43GZobR%2Fuploads%2FNDGwcNCP11LpAWiAza6F%2F0.jpeg?alt=media" alt=""><figcaption></figcaption></figure>

### Anslutningsterminaler

Anslut ledningen i terminalen, dra åt skruven för att stänga klämman och håll ledningen på plats. Skruva upp för att öppna klämman för att ta bort ledningen från terminalen.

### **3. Neutral**&#x20;

### **4. Fas (AC-ingång)**

### &#x20;**5. NO**

&#x20;    För normalt öppen anslutning till enheten.

### **6. Gemensam**

## Specifikation

* Strömkälla (extern ström): 100–240 VAC
* Reläutgång: Potentialfritt SPDT-relä, maximal driftbelastning: 5A (resistiv) vid 24 VDC eller 240 VAC
* Flertrådig ledning: 14 \~ 22 AWG
* Drifttemperatur: -10 °C till 45 °C (14 °F till 113 °F)
* Fuktighet: Upp till 85% utan kondensation
* Mått: 71 mm x 49 mm x 26 mm

## Installationsmiljö&#x20;

* Reläkontrollern bör installeras inomhus på en torr plats.
* Det rekommenderas att installera enheten i en eldosan av eldfast plast.
* Installera inte enheten i en metallisk eldosan för att optimera RF-räckvidden.

### Varning&#x20;

* Alt arbete på enheten, inklusive installation och underhåll, måste utföras av en kvalificerad och licensierad elektriker.
* För att förhindra elektriska stötar och/eller skada på utrustning, koppla från strömmen vid huvudsäkringen eller brytaren före installation och underhåll.
* Anslut inte enheten till laster som överstiger den stödda lastströmmen.

## Installation

Koppla reläet enligt instruktionerna nedan eller se diagrammet för mer information.

1. Stäng av strömförsörjningen innan anslutning.
2. Anslut L- och N-terminalerna på strömförsörjningen till respektive fas- och neutralterminaler på PRL.
3. Beroende på vilken enhet du vill styra via reläet, välj NO-terminalen och koppla reläet till enheten för att etablera en normalt öppen förbindelse med enheten.
4. Efter att ha slutfört ledningsdragningen, slå på strömförsörjningen för att slå på reläväxelomkopplaren.

<figure><img src="https://3303998015-files.gitbook.io/~/files/v0/b/gitbook-x-prod.appspot.com/o/spaces%2FZJzpNocHhYVmD43GZobR%2Fuploads%2F7OFJyWXgZridBw5dodYw%2F3.jpeg?alt=media" alt=""><figcaption></figcaption></figure>

{% hint style="danger" %}
*VIKTIGT:*

Kablaget av PRL bör endast utföras av certifierad tekniker med lämplig kunskap och utbildning i elektrisk utrustning.
{% endhint %}

## Komma igång

**Steg 1**: Anslut strömförsörjningen till relästyrningen enligt installationsanvisningarna i föregående avsnitt och slå på relästyrningen.

**Steg 2:** Sätt kontrollpanelen i inlärningsläge.

**Steg 3:** Tryck och håll in Test-knappen på relästyrningen i 3 sekunder för att skicka en inlärningskod.

**Steg 4:** LED-lampan börjar blinka långsamt, vilket indikerar att relästyrningen är i inlärningsläge.

**Steg 5:** Om kontrollpanelen tar emot signalen från relästyrningen kommer den att visa informationen därefter. Se kontrollpanelens manual för att slutföra inlärningsprocessen. **Steg 6:** När relästyrningen tar emot bekräftelse från kontrollpanelen kommer relästyrningens LED att blinka 3 gånger och sedan slockna för att indikera att inlärningsprocessen är slutförd.

{% hint style="warning" %}
Notera:

* Efter att ha gått in i inlärningsläge kommer relästyrningen inte automatiskt lämna inlärningsläget om den inte får bekräftelse från kontrollpanelen eller om Test-knappen inte trycks in.
* Om relästyrningen redan finns i ett kontrollpanelsystem måste du först ta bort relästyrningen från kontrollpanelen innan du kan lära in den i en annan kontrollpanel.
  {% endhint %}

## Walk Test

För att testa om relästyrningen kan kommunicera med kontrollpanelen:

* Sätt Kontrollpanelen i Walk Test-läge.
* Tryck på Test-knappen på relästyrningen.
* Kontrollpanelen ska visa om relästyrningen är inom räckvidd (se kontrollpanelens bruksanvisning).

## Övervakning

* Efter att relästyrningen har lärts in i kontrollpanelen kommer enheten automatiskt att skicka övervakningssignaler tillsammans med PÅ/AV-status till kontrollpanelen med slumpmässiga intervaller på 30 till 50 minuter.
* Om kontrollpanelen inte har mottagit signalen från relästyrningen under den förinställda tidsperioden kommer kontrollpanelen att ange på sin display att den aktuella relästyrningen har ett problem med utebliven signal.

## Drift

### *Relästyrning*

* Efter att ha lärts in i kontrollpanelen kan relästyrningen styras via panelens webbsida för att fjärröppna och stänga den anslutna enheten eller växla mellan på- och av-lägen.
* Du kan också trycka på testknappen på relästyrningen för att slå reläet PÅ/AV.

### Återställning till fabriksinställningar

Att återställa relästyrningen till fabriksinställningarna raderar dess minne och återställer den till fabrikens standardinställningar.

1. Ta bort relästyrningen från kontrollpanelen. Se driftinstruktionerna för din kontrollpanel för detaljer.
2. Koppla bort strömförsörjningen från relästyrningen.
3. Tryck och håll in testknappen medan du tillför ström till relästyrningen.
4. Fortsätt hålla knappen och släpp den när LED-lampan tänds. Fabriksåterställningen är slutförd.
