# VESTA-206N

**PRL-3-F1**

## **Controler Releu**

<figure><img src="https://2057535213-files.gitbook.io/~/files/v0/b/gitbook-x-prod.appspot.com/o/spaces%2FZJzpNocHhYVmD43GZobR%2Fuploads%2F9skcbfciFzWSPkMoQ4pn%2Fimage.png?alt=media&#x26;token=e87a15be-b013-4bbe-b2b7-174ab6732873" alt=""><figcaption></figcaption></figure>

## Introducere

PRL-3-AC este un controler de releu care poate fi conectat la un dispozitiv cablat și setat la starea Normal Deschis (N.O.). După ce este învățat în Panoul de Control, controlerul de releu poate fi controlat prin pagina web a Panoului pentru a deschide și închide la distanță dispozitivul conectat.

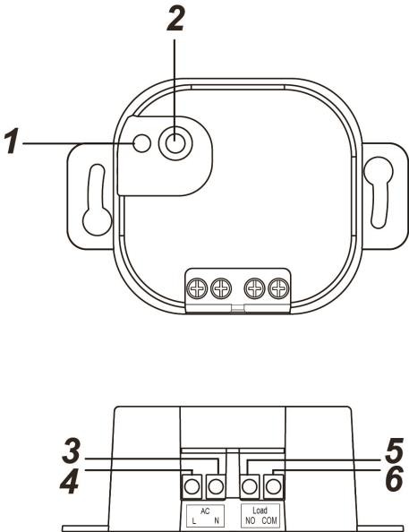
## Identificarea părților

### 1. Indicator LED

Indicatorul LED este folosit pentru a indica starea releului:

* Pornit: Controlerul de releu este pornit.
* Oprit: Controlerul de releu este oprit.
* Clipiri de două ori: Când este alimentat.
* Clipiri lente: În modul de învățare.
* Clipiri de trei ori: Când învățarea este reușită.
* Clipiri scurte: Transmitere semnal RF

### 2. Buton de test

* Apăsați și mențineți apăsat butonul timp de 3 secunde pentru a trimite un cod de învățare.
* Apăsați și mențineți butonul în timp ce porniți controlerul de releu, apoi eliberați butonul când LED-ul se aprinde pentru a reveni la setările din fabrică.
* Apăsați butonul pentru a comuta Releul ON/OFF.

<figure><img src="https://2057535213-files.gitbook.io/~/files/v0/b/gitbook-x-prod.appspot.com/o/spaces%2FZJzpNocHhYVmD43GZobR%2Fuploads%2FNDGwcNCP11LpAWiAza6F%2F0.jpeg?alt=media" alt=""><figcaption></figcaption></figure>

### Terminale de conectare

Conectați firul în terminal, strângeți șurubul pentru a închide clema și a fixa firul. Desurubați pentru a deschide clema și a scoate firul conectat la terminal.

### **3. Neutral**&#x20;

### **4. Fază (intrare AC)**

### &#x20;**5. NO**

&#x20;    Pentru conexiune Normal Deschis cu dispozitivul.

### **6. Comun**

## Specificație

* Sursă de alimentare (alimentare externă): 100-240VAC
* Ieșire releu: releu SPDT fără potențial, sarcină maximă de funcționare: 5A (rezistiv) la 24VDC sau 240VAC
* Fir multifilar: 14 \~ 22 AWG
* Temperatura de funcționare: -10°C până la 45°C (14°F până la 113°F)
* Umiditate: Până la 85% fără condensare
* Dimensiuni: 71mm x 49mm x 26mm

## Mediu de instalare&#x20;

* Controlerul releu ar trebui instalat în interior, într-un loc uscat.
* Se recomandă instalarea dispozitivului într-o cutie de plastic rezistentă la foc.
* Nu instalați dispozitivul într-o cutie metalică pentru optimizarea acoperirii RF.

### Atenție&#x20;

* Toate lucrările la dispozitiv, inclusiv instalarea și întreținerea, trebuie efectuate de un electrician calificat și licențiat.
* Pentru a preveni șocul electric și/sau deteriorarea echipamentului, deconectați alimentarea electrică la siguranța principală sau la întrerupătorul de circuit înainte de instalare și întreținere.
* Nu conectați dispozitivul la sarcini care depășesc curentul suportat.

## Instalare

Conectați releul conform instrucțiunilor de mai jos sau consultați diagrama pentru mai multe informații.

1. Vă rugăm să opriți alimentarea înainte de conectare.
2. Conectați terminalele L și N ale alimentării la terminalele Line și Neutral ale PRL, respectiv.
3. În funcție de dispozitivul pe care doriți să îl controlați prin releu, selectați bornă NO și conectați releul cu dispozitivul pentru a stabili o conexiune Normal Deschis cu dispozitivul.
4. După finalizarea cablării, porniți alimentarea pentru a pune în funcțiune comutatorul cu releu.

<figure><img src="https://2057535213-files.gitbook.io/~/files/v0/b/gitbook-x-prod.appspot.com/o/spaces%2FZJzpNocHhYVmD43GZobR%2Fuploads%2F7OFJyWXgZridBw5dodYw%2F3.jpeg?alt=media" alt=""><figcaption></figcaption></figure>

{% hint style="danger" %}
*NOTĂ IMPORTANTĂ:*

Cablarea PRL ar trebui efectuată numai de un tehnician certificat cu cunoștințe și instruire adecvată în echipamente electrice.
{% endhint %}

## Începeți

**Pasul 1**: Conectați sursa de alimentare la controlerul de releu conform instrucțiunilor de instalare din secțiunea precedentă și alimentați controlerul de releu.

**Pasul 2:** Puneți Panoul de Control în modul de învățare.

**Pasul 3:** Apăsați și mențineți butonul Test de pe controlerul de releu timp de 3 secunde pentru a trimite un cod de învățare.

**Pasul 4:** LED-ul va începe să clipească lent, indicând că controlerul de releu este în modul de învățare.

**Pasul 5:** Dacă Panoul de Control primește semnalul de la controlerul de releu, acesta va afișa informațiile corespunzător. Consultați manualul Panoului de Control pentru a finaliza procesul de învățare. **Pasul 6:** Când controlerul de releu primește confirmarea din partea Panoului de Control, LED-ul controlerului de releu va clipi de 3 ori și apoi se va opri pentru a indica că procesul de învățare este finalizat.

{% hint style="warning" %}
Notă:

* După intrarea în modul de învățare, controlerul de releu nu va părăsi automat modul de învățare decât dacă primește confirmare de la Panoul de Control sau dacă este apăsat butonul Test.
* Dacă controlerul de releu există deja într-un sistem al Panoului de Control, va trebui mai întâi să eliminați controlerul de releu din Panoul de Control înainte de a-l putea învăța într-un alt Panou de Control.
  {% endhint %}

## Mod Walk Test

Pentru a testa dacă controlerul de releu poate comunica cu Panoul de Control:

* Apăsați Butonul de Test de pe Comutatorul de Alimentare.
* Apăsați butonul Test de pe controlerul de releu.
* Panoul de Control ar trebui să afișeze dacă controlerul de releu se află în raza de acțiune (vă rugăm să consultați manualul de operare al Panoului de Control).

## Supraveghere

* După ce controlerul de releu este învățat cu succes în Panoul de Control, dispozitivul va transmite automat semnalul de supraveghere împreună cu starea PORNIT/Oprit către Panoul de Control la intervale aleatorii de 30 până la 50 de minute.
* Dacă Panoul de Control nu a primit semnalul de la controlerul de releu pentru perioada prestabilită, Panoul de Control va indica pe afișaj că acel controler de releu întâmpină o problemă de lipsă a semnalului.

## Operare

### *Control releu*

* După ce este învățat în Panoul de Control, controlerul de releu poate fi controlat prin pagina web a Panoului pentru a deschide și închide la distanță dispozitivul conectat sau pentru a comuta între stările pornit și oprit.
* De asemenea, puteți apăsa butonul de test de pe controlerul de releu pentru a comuta releul PORNIT/OPRIT.

### Resetare la setările din fabrică

Resetarea la setările din fabrică a controlerului de releu îi va șterge memoria și îl va restaura la setările implicite din fabrică.

1. Eliminați controlerul de releu din Panoul de Control. Consultați manualul de operare al Panoului de Control pentru detalii.
2. Deconectați alimentarea de la controlerul de releu.
3. Apăsați și mențineți butonul de test în timp ce alimentați controlerul de releu.
4. Continuați să țineți apăsat butonul, apoi eliberați-l când LED-ul se aprinde. Resetarea la setările din fabrică este completă.
