VESTA-169
PRL1-ZW-AC
Z-Wave-relécontroller

Introduksjon
PRL1-ZW-AC er en Z-Wave-relécontroller som kan kobles til kablede enheter og settes til enten normalt åpen (N.O.) eller normalt lukket (N.C.) status. Etter å ha sluttet seg til Z-Wave-nettverket kan relécontrolleren kontrolleres via Z-Wave-nettverket for å aktivere tilkoblede enheter. Z-Wave er en trådløs kommunikasjonsprotokoll som bruker en lavenergisk RF-radio.
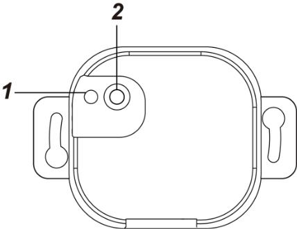
Delidentifikasjon

LED-indikator
LED-indikatoren brukes for å angi reléstatus:
LED på: Relé på
LED av: Relé av
Funksjonsknapp
Trykk på knappen 3 ganger innen 1,5 sekunder for å sende en læringskode.
Trykk og hold knappen i 10 sekunder for å tilbakestille til fabrikkinnstillinger.
Trykk på knappen for å slå reléet PÅ/AV.
Tilslutningsterminaler

For å koble ledninger, skyv ledningen inn i terminalen og hold ledningen på plass. For å fjerne tilkoblet ledning, trykk på knappen over terminalen, og fjern deretter ledningen.
Reservert
Linje (AC-inngang)
Nøytral
NO: For normalt åpen tilkobling med enheten.
Felles
NC: For normalt lukket tilkobling med enheten
Spesifikasjon
Strømforsyning (ekstern strøm): 100–240 VAC
Reléutgang: Potensialfri SPDT-relé, maksimal driftbelastning: 5 A (resistiv) ved 24 VDC eller 240 VAC
Flettet ledning: 16–26 AWG
Driftstemperatur: -10°C til 45°C (14°F til 113°F)
Fuktighet: Opptil 85 % uten kondens
Dimensjon: 71,1 mm x 49 mm x 26 mm
Installasjonsmiljø
Installasjonsmiljø Relécontrolleren bør installeres innendørs på et tørt sted.
Det anbefales å installere enheten i en brannbestandig plastboks.
Ikke installer enheten i en metallboks for å optimalisere RF-rekkevidden.
Forsiktighet 
Forsiktighet 
Alt arbeid på enheten, inkludert installasjon og vedlikehold, må utføres av en kvalifisert og lisensiert elektriker.
For å forhindre elektrisk støt og/eller utstyrs skade, koble fra strømmen ved hovedsikringen eller jordfeilbryteren før installasjon og vedlikehold.
Koble ikke enheten til laster som overstiger støttet laststrøm.
Installasjon
Innskubningshullenes ledningsspesifikasjon er AWG 16–26 eller Ø 1,31–0,129 (mm²).
Koble reléet i henhold til instruksjonene nedenfor:

Slå av strømforsyningen før tilkobling.
Koble L- og N-terminalene på strømforsyningen til henholdsvis linje- og nøytralt-terminalene på PRL.
Avhengig av hvilken enhet du ønsker å kontrollere via reléet, velg NO- eller NC-terminal og koble reléet med enheten for å etablere normalt åpen eller normalt lukket forbindelse med enheten.
Etter å ha fullført enhetskoblingen, slå på strømforsyningen for å slå på relécontrolleren.
VIKTIG MERKNAD:
Kabling av PRL bør kun utføres av sertifisert tekniker med riktig kunnskap og opplæring i elektrisk utstyr.
Z-Wave-nettverk
Legge til enhet (inkludering)
Koble strømforsyningen til relécontrolleren i henhold til installasjonsinstruksjonene i forrige avsnitt og slå på relécontrolleren.
Sett Z-Wave-gatewayen eller kontrollpanelet i Inkluderingsmodus (vennligst se Z-Wave-gatewayens eller kontrollpanelets manual).
Innen 1,5 sekunder, trykk på funksjonsknappen 3 ganger.
Se driftshåndboken for Z-Wave-gatewayen eller kontrollpanelet for å fullføre legg-til-prosessen.
Hvis enheten allerede er lagt til (inkludert) i en annen Z-Wave-gateway/kontrollpanel, eller hvis enheten ikke kan legges til i den nåværende Z-Wave-gatewayen/kontrollpanelet, prøv å fjerne den først (se Fjerne enhet).
Fjerne enhet (eksklusjon)
Enheten må fjernes fra eksisterende Z-Wave-nettverk før den legges til i et annet.
Eksklusjonsmodus
Sett Z-Wave-gatewayen eller kontrollpanelet i Eksklusjonsmodus (vennligst se Z-Wave-gatewayens eller kontrollpanelets manual).
Innen 1,5 sekunder, trykk på funksjonsknappen 3 ganger og enheten vil bli fjernet fra Z-Wave-nettverket.
Tilbakestille til fabrikkinnstillinger
Å tilbakestille enheten til fabrikkinnstillinger vil gjenopprette den til fabrikkstandardinnstillinger (dvs. ikke inkludert i noe Z-Wave-nettverk). Vennligst bruk denne prosedyren kun hvis Z-Wave-gatewayen eller kontrollpanelet er mistet eller på annen måte ikke fungerer.
Trykk og hold funksjonsknappen på enheten i 10 sekunder for å tilbakestille til fabrikkinnstillinger.
Rekkeviddetest
For å teste om enheten kan kommunisere med Z-Wave-gatewayen eller kontrollpanelet:
Sett gatewayen/panelet i rekkeviddetestmodus (Walk Test).
Trykk på funksjonsknappen på enheten.
Gatewayen/panelet skal vise om enheten er innenfor operasjonsområdet (vennligst se driftshåndboken for gatewayen/panelet).
Drift
Reléstyring
Når relécontrolleren har blitt vellykket med i et Z-Wave-nettverk, vil gatewayen/kontrollpanelet kunne fjernstyre reléet for å slå det på, av eller veksle mellom på og av. Se din Z-Wave-gateway/kontrollpanel for detaljer.
Z-Wave-informasjon
Enhetstype: På/av-strømbryter
Rolletype: Alltid på slave (AOS)
Kommandoklasse støtte/kontroll
Obligatorisk CC-støtte:
Association CC, v2 eller nyere
Association Group Information CC
Basic CC
Binary Switch CC
Device Reset Locally CC
Manufacturer Specific CC
Power level CC
Version CC, v2 eller nyere
Z-Wave Plus Info CC
Anbefalt CC-støtte: Firmware Update Metadata CC
Z-Wave-gruppene (Association Command Class versjon 2)
Bryteren kan settes til å sende rapporter til assosierte Z-Wave-enheter. Den støtter én assosiasjonsgruppe med støtte for fem noder for Gruppe 1. For gruppering 1 vil bryteren rapportere sin siste status til Z-Wave-gateway/panel.
Gruppe 1 for «LifeLine":
Binary Switch CC (SWITCH_BINARY_REPORT)
Device Reset Locally CC (COMMAND_CLASS_DEVICE_RESET_LOCALLY)
Automatisk rapportering til Gruppe 1 (maksimalt noder 5)
På/av-hendelsesrapport
Når det veksles mellom på/av, vil den sende Binary Switch-rapport til nodene i Gruppe 1.
Sist oppdatert