# VESTA-169

**PRL1-ZW-AC**

## **Ελεγκτής Ρελέ Z-Wave**&#x20;

<figure><img src="https://1750931602-files.gitbook.io/~/files/v0/b/gitbook-x-prod.appspot.com/o/spaces%2FZJzpNocHhYVmD43GZobR%2Fuploads%2FaINbCqdcv3QvLdx8fy4c%2Fimage.png?alt=media&#x26;token=179fe565-68e1-4cdf-82f5-5791419af463" alt=""><figcaption></figcaption></figure>

## **Εισαγωγή**

Το PRL1-ZW-AC είναι ένας Ελεγκτής Ρελέ Z-Wave που μπορεί να συνδεθεί σε ενσύρματα εξαρτήματα και να ρυθμιστεί είτε σε Κανονικά Ανοιχτή (N.O.) είτε σε Κανονικά Κλειστή (N.C.) κατάσταση. Μετά την ένταξη στο δίκτυο Z-Wave, ο Ελεγκτής Ρελέ μπορεί να ελεγχθεί μέσω του δικτύου Z-Wave για την ενεργοποίηση των συνδεδεμένων συσκευών. Το Z-Wave είναι ένα ασύρματο πρωτόκολλο επικοινωνίας που χρησιμοποιεί ραδιοσυχνότητα χαμηλής ισχύος.

## **Αναγνώριση μερών**

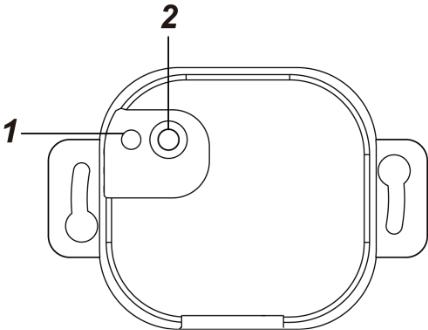
<div align="left"><img src="https://1750931602-files.gitbook.io/~/files/v0/b/gitbook-x-prod.appspot.com/o/spaces%2FZJzpNocHhYVmD43GZobR%2Fuploads%2FOlqVznTB3OjvSDfrvjmi%2F0.jpeg?alt=media" alt="" width="214"></div>

1. **Δείκτης LED**

Ο δείκτης LED χρησιμοποιείται για να δείξει την κατάσταση του ρελέ:

* LED Αναμμένο: Ρελέ Ενεργό
* LED Σβηστό: Ρελέ Απενεργοποιημένο

2. **Κουμπί Λειτουργίας**

Πατήστε το κουμπί 3 φορές μέσα σε 1,5 δευτερόλεπτα για να στείλετε κωδικό εκμάθησης.

Πατήστε και κρατήστε πατημένο το κουμπί για 10 δευτερόλεπτα για επαναφορά στις εργοστασιακές ρυθμίσεις.

Πατήστε το κουμπί για να εναλλαγείτε ΕΝΕΡΓΟΠΟΙΗΣΗ/ΑΠΕΝΕΡΓΟΠΟΙΗΣΗ του ρελέ.

### **Τερματικά σύνδεσης**

<div align="left"><img src="https://1750931602-files.gitbook.io/~/files/v0/b/gitbook-x-prod.appspot.com/o/spaces%2FZJzpNocHhYVmD43GZobR%2Fuploads%2FRxDIaKYScIKCW5l3i89R%2F1.jpeg?alt=media" alt="" width="218"></div>

Για να κάνετε σύνδεση καλωδίου, ωθήστε το καλώδιο μέσα στο τερματικό και κρατήστε το στη θέση του. Για να αφαιρέσετε το συνδεδεμένο καλώδιο, πατήστε το κουμπί πάνω από το τερματικό και στη συνέχεια αφαιρέστε το καλώδιο.

3. **Κρατημένο**
4. **Φάση (είσοδος AC)**
5. **Ουδέτερος**
6. **NO:**  Για σύνδεση Κανονικά Ανοιχτή με τη συσκευή.
7. **Κοινό**
8. **NC:**  Για σύνδεση Κανονικά Κλειστή με τη συσκευή

## **Προδιαγραφές**

* Πηγή ρεύματος (Εξωτερική ισχύς): 100-240VAC
* Έξοδος Ρελέ: Ρελέ SPDT χωρίς δυναμικό, Μέγιστο Φορτίο Λειτουργίας: 5A (ωμικό) στα 24VDC ή 240VAC
* Επιμερισμένο Καλώδιο: 16-26 AWG
* Θερμοκρασία Λειτουργίας: -10°C έως 45°C (14°F έως 113°F)
* Υγρασία: Έως 85% χωρίς συμπύκνωση
* Διάσταση: 71,1mm x 49mm x 26mm

## <img src="https://1750931602-files.gitbook.io/~/files/v0/b/gitbook-x-prod.appspot.com/o/spaces%2FZJzpNocHhYVmD43GZobR%2Fuploads%2FJeK89LlBQmXuCkV1YqBv%2Fimage.png?alt=media&#x26;token=9c37c4e9-e8d5-43be-b2aa-971dd11433c3" alt="" data-size="line">**Περιβάλλον εγκατάστασης**&#x20;

* Ο Ελεγκτής Ρελέ θα πρέπει να εγκαθίσταται εσωτερικά σε ξηρό χώρο.
* Συνιστάται η εγκατάσταση της συσκευής σε πλαστικό κουτί ανθεκτικό στη φωτιά.
* Μην εγκαθιστάτε τη συσκευή σε μεταλλικό κουτί για βελτιστοποίηση της εμβέλειας RF.

## <img src="https://1750931602-files.gitbook.io/~/files/v0/b/gitbook-x-prod.appspot.com/o/spaces%2FZJzpNocHhYVmD43GZobR%2Fuploads%2Fi0XEvNCtKw61Y8JqUM3x%2Fimage.png?alt=media&#x26;token=c02ee99c-4fd6-478f-a90f-cf5ac1b1c1b7" alt="" data-size="line">**Προσοχή** <img src="https://1750931602-files.gitbook.io/~/files/v0/b/gitbook-x-prod.appspot.com/o/spaces%2FZJzpNocHhYVmD43GZobR%2Fuploads%2FapvCBwFRVDQmjz1Ij1Bi%2Fimage.png?alt=media&#x26;token=2e6d89c4-4b41-4db7-a5e2-9bb88c85ad1e" alt="" data-size="line">

* Όλες οι εργασίες στη συσκευή, συμπεριλαμβανομένης της εγκατάστασης και της συντήρησης, πρέπει να εκτελούνται από εξειδικευμένο και αδειοδοτημένο ηλεκτρολόγο.
* Για να αποφευχθεί ηλεκτροπληξία και/ή ζημιά στον εξοπλισμό, αποσυνδέστε την ηλεκτρική τροφοδοσία στον κύριο ασφάλεια ή διακόπτη πριν από την εγκατάσταση και τη συντήρηση.
* Μην συνδέετε τη συσκευή σε φορτία που υπερβαίνουν το υποστηριζόμενο ρεύμα φορτίου.

## **Εγκατάσταση**

Η προδιαγραφή καλωδίωσης των οπών εισαγωγής είναι AWG 16-26 ή Ø 1,31-0,129 (mm²).

Συνδέστε το ρελέ σύμφωνα με τις παρακάτω οδηγίες:

![](https://1750931602-files.gitbook.io/~/files/v0/b/gitbook-x-prod.appspot.com/o/spaces%2FZJzpNocHhYVmD43GZobR%2Fuploads%2FwOcDhamSfcZh57lqVHKE%2F4.jpeg?alt=media)

1. Απενεργοποιήστε την τροφοδοσία πριν από τη σύνδεση.
2. Συνδέστε τα τερματικά L και N της τροφοδοσίας στα τερματικά Φάση και Ουδέτερος του PRL αντίστοιχα.
3. Ανάλογα με τη συσκευή που θέλετε να ελέγξετε μέσω του ρελέ, επιλέξτε το τερματικό NO ή NC και συνδέστε το ρελέ με τη συσκευή για να καθιερώσετε σύνδεση Κανονικά Ανοιχτή ή Κανονικά Κλειστή με τη συσκευή.
4. Αφού ολοκληρώσετε τη καλωδίωση της συσκευής, ενεργοποιήστε την τροφοδοσία για να ενεργοποιήσετε τον Ελεγκτή Ρελέ.

{% hint style="danger" %}
*ΣΗΜΑΝΤΙΚΗ ΣΗΜΕΙΩΣΗ:*

Η καλωδίωση του PRL πρέπει να γίνεται μόνο από πιστοποιημένο τεχνικό με κατάλληλη γνώση και εκπαίδευση σε ηλεκτρικό εξοπλισμό.
{% endhint %}

## **Δίκτυο Z-Wave**

### ***Προσθήκη Συσκευής (Ενσωμάτωση)***

* Συνδέστε την τροφοδοσία στον Ελεγκτή Ρελέ σύμφωνα με τις οδηγίες εγκατάστασης στην προηγούμενη ενότητα και ενεργοποιήστε τον Ελεγκτή Ρελέ.
* Βάλτε την πύλη Z-Wave ή τον πίνακα ελέγχου σε **Λειτουργία Ενσωμάτωσης** (παρακαλούμε ανατρέξτε στο εγχειρίδιο της πύλης Z-Wave ή του πίνακα ελέγχου).
* Εντός 1,5 δευτερολέπτου, πατήστε το Κουμπί Λειτουργίας 3 φορές.
* Ανατρέξτε στο εγχειρίδιο λειτουργίας της πύλης Z-Wave ή του πίνακα ελέγχου για να ολοκληρώσετε τη διαδικασία προσθήκης.
* Εάν η συσκευή έχει ήδη προστεθεί (ενσωματωθεί) σε άλλη πύλη/πίνακα ελέγχου Z-Wave, ή εάν η συσκευή δεν είναι δυνατόν να προστεθεί στην τρέχουσα πύλη/πίνακα ελέγχου Z-Wave, δοκιμάστε πρώτα να τη αφαιρέσετε (βλέπε ***Αφαίρεση Συσκευής***).

### ***Αφαίρεση Συσκευής (Απομάκρυνση)***

Η συσκευή πρέπει να αφαιρεθεί από υπάρχον δίκτυο Z-Wave πριν προστεθεί σε άλλο.

#### &#x20;**Λειτουργία Απομάκρυνσης**

* Βάλτε την πύλη Z-Wave ή τον πίνακα ελέγχου σε **Λειτουργία Απομάκρυνσης** (παρακαλούμε ανατρέξτε στο εγχειρίδιο της πύλης Z-Wave ή του πίνακα ελέγχου).
* Εντός 1,5 δευτερολέπτου, πατήστε το Κουμπί Λειτουργίας 3 φορές και η συσκευή θα αφαιρεθεί από το δίκτυο Z-Wave.

#### **Επαναφορά στις εργοστασιακές ρυθμίσεις**

* Η επαναφορά της συσκευής στις εργοστασιακές ρυθμίσεις θα την επαναφέρει στις προεπιλεγμένες ρυθμίσεις εργοστασίου (δηλαδή δεν θα περιλαμβάνεται σε κανένα δίκτυο Z-Wave). Χρησιμοποιήστε αυτή τη διαδικασία μόνο εάν η πύλη Z-Wave ή ο πίνακας ελέγχου έχει χαθεί ή είναι αλλιώς ανενεργός.
* Πατήστε και κρατήστε πατημένο το Κουμπί Λειτουργίας της συσκευής για 10 δευτερόλεπτα για επαναφορά στις εργοστασιακές ρυθμίσεις.

### ***Δοκιμή εμβέλειας***

Για να δοκιμάσετε αν η συσκευή μπορεί να επικοινωνήσει με την πύλη Z-Wave ή τον πίνακα ελέγχου:

* Βάλτε την πύλη / τον πίνακα σε λειτουργία δοκιμής εμβέλειας (Δοκιμή Περιπάτου).
* Πατήστε το Κουμπί Λειτουργίας στη συσκευή.
* Η πύλη / ο πίνακας θα πρέπει να εμφανίσει αν η συσκευή βρίσκεται εντός της εμβέλειας λειτουργίας (παρακαλούμε ανατρέξτε στο εγχειρίδιο λειτουργίας της πύλης / του πίνακα).

## **Λειτουργία**

### ***Έλεγχος Ρελέ***

Όταν ο Ελεγκτής Ρελέ έχει ενωθεί επιτυχώς σε ένα δίκτυο Z-Wave, η πύλη/ο πίνακας ελέγχου θα μπορεί να ελέγχει απομακρυσμένα το ρελέ για να το ενεργοποιεί, να το απενεργοποιεί ή να εναλλάσσει μεταξύ ενεργού και ανενεργού κατάστασης. Ανατρέξτε στην πύλη/τον πίνακα Z-Wave για λεπτομέρειες.

### **Πληροφορίες Z-Wave**

**Τύπος συσκευής:** Διακόπτης Ισχύος Ενεργοποίησης/Απενεργοποίησης

**Τύπος ρόλου:** Πάντα Ενεργός Υποτελής (AOS)

**Υποστήριξη/Έλεγχος Κατηγορίας Εντολών**

**Υποχρεωτική υποστήριξη CC:**&#x20;

* Association CC, v2 ή νεότερο
* Association Group Information CC
* Basic CC
* Binary Switch CC
* Device Reset Locally CC
* Manufacturer Specific CC
* Power level CC
* Version CC, v2 ή νεότερο
* Z-Wave Plus Info CC

**Συνιστώμενη υποστήριξη CC**: Firmware Update Metadata CC

#### ***Οι Ομάδες του Z-Wave (Association Command Class Έκδοση 2)***

Ο διακόπτης μπορεί να οριστεί να στέλνει αναφορές σε συνδεδεμένες συσκευές Z-Wave. Υποστηρίζει μία ομάδα συσχέτισης με υποστήριξη πέντε κόμβων για την Ομαδοποίηση 1. Για την ομαδοποίηση 1, ο διακόπτης θα αναφέρει την τελευταία του κατάσταση στην Πύλη/Πίνακα Z-Wave.

Ομάδα 1 για “LifeLine”:

* Binary Switch CC (SWITCH\_BINARY\_REPORT)
* Device Reset Locally CC (COMMAND\_CLASS\_DEVICE\_RESET\_LOCALLY)
  * Αυτόματη αναφορά στην Ομαδοποίηση 1 (Μέγιστος αριθμός κόμβων 5)
  * Αναφορά γεγονότος Ενεργοποίησης/Απενεργοποίησης

Όταν γίνεται εναλλαγή μεταξύ Ενεργοποίησης/Απενεργοποίησης, θα στέλνει Αναφορά Δυαδικού Διακόπτη στους κόμβους της Ομαδοποίησης 1.
