# VESTA-140

**PRL-8-ZW-AC**

## **Ελεγκτής Ρελέ Z-Wave**&#x20;

<figure><img src="https://1750931602-files.gitbook.io/~/files/v0/b/gitbook-x-prod.appspot.com/o/spaces%2FZJzpNocHhYVmD43GZobR%2Fuploads%2FOsHpOQQ7srQhdiwzTAZF%2Fimage.png?alt=media&#x26;token=a6623f6d-3916-4d99-8350-c72f8fcf3836" alt=""><figcaption></figcaption></figure>

## **Εισαγωγή**

Το PRL-8-ZW-AC είναι ένας Ελεγκτής Ρελέ Z-Wave που μπορεί να συνδεθεί σε ενσύρματα συστήματα και να οριστεί είτε σε Κανονικά Ανοιχτό (N.O.) είτε σε Κανονικά Κλειστό (N.C.) κατάσταση. Μετά την ένταξη στο δίκτυο Z-Wave, ο Ελεγκτής Ρελέ μπορεί να ελεγχθεί μέσω του δικτύου Z-Wave για να ενεργοποιήσει τις συνδεδεμένες συσκευές. Το Z-Wave είναι ένα ασύρματο πρωτόκολλο επικοινωνίας που χρησιμοποιεί ραδιοφωνική μετάδοση χαμηλής ισχύος. Ο Ελεγκτής Ρελέ Z-Wave επιτρέπει πρόσβαση στην κλάση «S2 Unauthenticated».

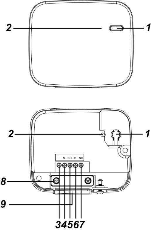
**Αναγνώριση Μερών**

<div align="center" data-full-width="false"><img src="https://1750931602-files.gitbook.io/~/files/v0/b/gitbook-x-prod.appspot.com/o/spaces%2FZJzpNocHhYVmD43GZobR%2Fuploads%2FCEJKtNP14RVdR3K4HA8j%2F0.jpeg?alt=media" alt=""></div>

1. **Κουμπί λειτουργίας**

Πατήστε το κουμπί 3 φορές μέσα σε 1,5 δευτερόλεπτο για να αποστείλετε έναν κωδικό εκμάθησης.

Πατήστε και κρατήστε πατημένο το κουμπί για 10 δευτερόλεπτα για επαναφορά στις εργοστασιακές ρυθμίσεις.

Πατήστε το κουμπί για να ενεργοποιήσετε/απενεργοποιήσετε το ρελέ.

2. **Δείκτης LED (Κόκκινο)**

Ο δείκτης LED χρησιμοποιείται για να υποδείξει την κατάσταση του ρελέ:

* LED Αναμμένο: Ρελέ Ενεργό
* LED Σβηστό: Ρελέ Απενεργοποιημένο

{% hint style="info" %}
[**Τερματικά Σύνδεσης**](#user-content-fn-1)[^1]

Συνδέστε το καλώδιο στο τερματικό, σφίξτε τη βίδα για να κλείσει το σφιγκτήρα και να συγκρατήσει το καλώδιο στη θέση του. Ξεβιδώστε για να ανοίξετε το σφιγκτήρα και να αφαιρέσετε το καλώδιο που είναι συνδεδεμένο στο τερματικό.
{% endhint %}

3. **Γραμμή (εισροή AC)**
4. **Ουδέτερος**
5. **NO**                                                                                                                                                                                     Για σύνδεση Κανονικά Ανοιχτή με τη συσκευή.
6. **Κοινό**
7. **NC**                                                                                                                                                                                               Για σύνδεση Κανονικά Κλειστή με τη συσκευή&#x20;
8. **Σφιγκτήρας Αποσύνδεσης Τάσης**                                                                                                                                                         Ο σφιγκτήρας χρησιμοποιείται για την ασφάλιση των καλωδίων και την παροχή αποφόρτισης τάσης για την προστασία των καλωδίων από την κοπή του μετάλλου.
9. &#x20;**Ζώνη καλωδίωσης**                                                                                                                                                               Η αγκράφα καλωδίωσης χρησιμοποιείται για τη διαχείριση των καλωδίων.

## **Προδιαγραφές**

* Πηγή τροφοδοσίας (Εξωτερική Τροφοδοσία): 100-240VAC
* Έξοδος Ρελέ: Επαφή χωρίς δυναμικό SPDT, Μέγιστο Φορτίο Λειτουργίας: 10A (ωμικό) στα 24VDC ή 240VAC
* Στελεχωμένο Καλώδιο: 14 \~ 22 AWG
* Θερμοκρασία Λειτουργίας: -10°C έως 45°C (14°F έως 113°F)
* Υγρασία: Έως 85% χωρίς συμπύκνωση
* Διαστάσεις: 86mm x 72mm x 29mm

<div align="left" data-full-width="false"><figure><img src="https://1750931602-files.gitbook.io/~/files/v0/b/gitbook-x-prod.appspot.com/o/spaces%2FZJzpNocHhYVmD43GZobR%2Fuploads%2Fi1VPfnXU3TXom1cH2Dct%2F1.jpeg?alt=media" alt="dsfsfs" width="52"><figcaption><p><strong>ΠΕΡΙΒΑΛΛΟΝ ΕΓΚΑΤΑΣΤΑΣΗΣ</strong></p></figcaption></figure></div>

* Ο Ελεγκτής Ρελέ πρέπει να εγκαθίσταται σε εσωτερικό χώρο σε ξηρή τοποθεσία.
* Συνιστάται η εγκατάσταση της συσκευής σε πλαστική στεγανή κουτί ανθεκτική στη φωτιά.
* Μην εγκαθιστάτε τη συσκευή σε μεταλλικό κουτί για βελτιστοποίηση της εμβέλειας Z-Wave.

<div align="left"><figure><img src="https://1750931602-files.gitbook.io/~/files/v0/b/gitbook-x-prod.appspot.com/o/spaces%2FZJzpNocHhYVmD43GZobR%2Fuploads%2Fmz3yz7nZQBNG9NwLnamp%2F2.jpeg?alt=media" alt="CAUTION" width="52"><figcaption><p><strong>ΠΡΟΕΙΔΟΠΟΙΗΣΗ</strong><del><strong>I</strong></del><strong>ON</strong></p></figcaption></figure></div>

* Όλες οι εργασίες στη συσκευή, συμπεριλαμβανομένης της εγκατάστασης και συντήρησης, πρέπει να εκτελούνται από εξειδικευμένο και αδειοδοτημένο ηλεκτρολόγο.
* Για να αποφευχθεί ηλεκτροπληξία και/ή ζημιά στον εξοπλισμό, αποσυνδέστε την ηλεκτρική τροφοδοσία στον κεντρικό ασφάλειο ή στο ρελέ πριν από την εγκατάσταση και τη συντήρηση.
* Μην συνδέετε τη συσκευή σε φορτία που υπερβαίνουν το υποστηριζόμενο ρεύμα φορτίου.

## **Εγκατάσταση**

<div data-full-width="true"><img src="https://1750931602-files.gitbook.io/~/files/v0/b/gitbook-x-prod.appspot.com/o/spaces%2FZJzpNocHhYVmD43GZobR%2Fuploads%2F8ORdYiJJ0K3I9SLx7IIG%2F3.jpeg?alt=media" alt="" width="256"></div>

Η καλωδίωση του PRL πρέπει να εκτελείται μόνο από πιστοποιημένο τεχνικό με κατάλληλη γνώση και εκπαίδευση σε ηλεκτρικό εξοπλισμό. Καλωδιώστε το ρελέ σύμφωνα με τις παρακάτω οδηγίες:

1. Απενεργοποιήστε την παροχή ρεύματος πριν από τη σύνδεση.
2. Αφαιρέστε το πάνω κάλυμμα και αφαιρέστε τον σφιγκτήρα αποφόρτισης τάσης.
3. Συνδέστε τα τερματικά L και N της παροχής ρεύματος στα τερματικά Γραμμής και Ουδέτερου του PRL αντίστοιχα μέσω της οπής καλωδίωσης.
4. Ανάλογα με τη συσκευή που θέλετε να ελέγξετε μέσω του ρελέ, επιλέξτε το τερματικό NO ή NC και καλωδιώστε το ρελέ με τη συσκευή για να δημιουργήσετε σύνδεση Κανονικά Ανοιχτή ή Κανονικά Κλειστή με τη συσκευή.
5. Μετά την ολοκλήρωση της καλωδίωσης της συσκευής, τοποθετήστε ξανά τον σφιγκτήρα αποφόρτισης τάσης, χρησιμοποιήστε τη ζώνη καλωδίωσης για να διαχειριστείτε τα καλώδια και τοποθετήστε τη ζώνη καλωδίωσης στη βάση με το άνοιγμά της (χαραμάδα) τοποθετημένο αριστερά (όπως στο διάγραμμα παρακάτω).

![](https://1750931602-files.gitbook.io/~/files/v0/b/gitbook-x-prod.appspot.com/o/spaces%2FZJzpNocHhYVmD43GZobR%2Fuploads%2Fmr5gJbsS63IMAeyNF4Xc%2F4.jpeg?alt=media)

6. Επανατοποθετήστε το πάνω κάλυμμα. Ενεργοποιήστε την παροχή ρεύματος για να τροφοδοτήσετε τον Ελεγκτή Ρελέ.

## **Δίκτυο Z-Wave**

#### ***Προσθήκη Συσκευής (Ένταξη)***

* Συνδέστε την παροχή ρεύματος στον Ελεγκτή Ρελέ σύμφωνα με τις οδηγίες εγκατάστασης στην προηγούμενη ενότητα και τροφοδοτήστε τον Ελεγκτή Ρελέ.
* Βάλτε την πύλη ή τον πίνακα ελέγχου Z-Wave στο **Λειτουργία ένταξης** (παρακαλούμε ανατρέξτε στο εγχειρίδιο της πύλης Z-Wave ή του πίνακα ελέγχου).
* Μέσα σε 1,5 δευτερόλεπτα, πατήστε το Κουμπί Λειτουργίας 3 φορές.
* Ανατρέξτε στο εγχειρίδιο λειτουργίας της πύλης Z-Wave ή του πίνακα ελέγχου για να ολοκληρώσετε τη διαδικασία προσθήκης.
* Εάν η συσκευή έχει ήδη προστεθεί (συμπεριληφθεί) σε άλλη Πύλη/Πίνακα Ελέγχου Z-Wave, ή εάν η συσκευή δεν μπορεί να προστεθεί στην τρέχουσα Πύλη/Πίνακα Ελέγχου Z-Wave, δοκιμάστε πρώτα να την αφαιρέσετε (δείτε ***Αφαίρεση Συσκευής***).

#### ***Αφαίρεση Συσκευής (Εξαίρεση)***

Η συσκευή πρέπει να αφαιρεθεί από το υπάρχον δίκτυο Z-Wave πριν προστεθεί σε άλλο.&#x20;

* **Λειτουργία Εξαίρεσης**
  * Βάλτε την πύλη ή τον πίνακα ελέγχου Z-Wave στο **Λειτουργία εξαίρεσης** (παρακαλούμε ανατρέξτε στο εγχειρίδιο της πύλης Z-Wave ή του πίνακα ελέγχου).
  * Μέσα σε 1,5 δευτερόλεπτα, πατήστε το Κουμπί Λειτουργίας 3 φορές και η συσκευή θα αφαιρεθεί από το δίκτυο Z-Wave.
* **Επαναφορά εργοστασιακών ρυθμίσεων**

  Η επαναφορά της συσκευής στις εργοστασιακές ρυθμίσεις θα την επαναφέρει στις προεπιλεγμένες ρυθμίσεις εργοστασίου (δηλ. δεν θα είναι συμπεριληφθεί σε κανένα δίκτυο Z-Wave). Χρησιμοποιήστε αυτή τη διαδικασία μόνο εάν η πύλη Z-Wave ή ο πίνακας ελέγχου έχει χαθεί ή είναι αλλιώς μη λειτουργικός.

&#x20;      Πατήστε και κρατήστε πατημένο το Κουμπί Λειτουργίας της συσκευής για 10 δευτερόλεπτα για εργοστασιακή επαναφορά.

#### ***Έλεγχος εμβέλειας***

Για να δοκιμάσετε εάν η συσκευή μπορεί να επικοινωνήσει με την πύλη Z-Wave ή τον πίνακα ελέγχου:

* Θέστε την πύλη / τον πίνακα σε λειτουργία δοκιμής εμβέλειας (Walk Test).
* Πατήστε το Κουμπί Λειτουργίας στη συσκευή.
* Η πύλη / ο πίνακας θα πρέπει να εμφανίσει εάν η συσκευή βρίσκεται εντός της λειτουργικής εμβέλειας (παρακαλείσθε να ανατρέξετε στο εγχειρίδιο λειτουργίας της πύλης / του πίνακα).

## **Λειτουργία**

#### ***Έλεγχος Ρελέ***

* Όταν ο Ελεγκτής Ρελέ έχει ενταχθεί επιτυχώς σε δίκτυο Z-Wave, η πύλη/η κεντρική μονάδα ελέγχου θα μπορεί να ελέγχει απομακρυσμένα το ρελέ για να το ενεργοποιεί, να το απενεργοποιεί ή να το εναλλάσσει μεταξύ ενεργού και ανενεργού κατάστασης. Ανατρέξτε στην πύλη/κεντρική μονάδα Z-Wave για λεπτομέρειες.

## **Πληροφορίες Z-Wave**

* [ ] **Τύπος Συσκευής:** Διακόπτης Τροφοδοσίας Ενεργοποίησης/Απενεργοποίησης
* [ ] **Τύπος Ρόλου:** Πάντα Ενεργός Υποδεέστερος (AOS)
* [ ] **Υποστήριξη/Έλεγχος Κλάσης Εντολών**
* [ ] **Υποχρεωτική υποστήριξη CC:**
  * [ ] &#x20;Z-Wave Plus Info CC&#x20;
  * [ ] Association CC, (S2)
  * [ ] Multi Channel Association CC, (S2)
  * [ ] Association Group Information CC, (S2)
  * [ ] Transport Service CC
  * [ ] Version CC, (S2)
  * [ ] Manufacturer Specific CC, (S2)
  * [ ] Device Reset Locally CC, (S2)
  * [ ] Powerlevel CC, (S2)
  * [ ] Switch Binary CC
  * [ ] Supervision CC, (S2)
  * [ ] Firmware Update Md CC, (S2)

- ***Ομάδες Z-Wave (Association Command Class Έκδοση 2)***

Ο Διακόπτης μπορεί να ρυθμιστεί να στέλνει αναφορές σε συνδεδεμένες συσκευές Z-Wave. Υποστηρίζει μια ομάδα σύνδεσης με υποστήριξη έως πέντε κόμβων για την Ομάδα 1. Για την Ομάδα 1, ο Διακόπτης θα αναφέρει την τελευταία του κατάσταση στην Πύλη/Πίνακα Z-Wave.

Ομαδοποίηση 1 για «LifeLine»: (μέγ. κόμβοι: 5)

Switch Binary CC (COMMAND\_CLASS\_SWITCH\_BINARY)

Device Reset Locally CC (COMMAND\_CLASS\_DEVICE\_RESET\_LOCALLY)

Κατά την εναλλαγή μεταξύ Ενεργοποίησης/Απενεργοποίησης, θα στείλει Αναφορά Δυαδικού Διακόπτη στα στοιχεία της Ομάδας 1.

[^1]:
