VESTA-041N
RS-23
VESTA Temperatur- und Luftfeuchtigkeitssensor

Einführung
Der RS-23 ist ein kabelloser Raum-Sensor. Er verfügt sowohl über Temperatur- als auch Feuchtigkeitsmessfunktionen, um Ihre Raumumgebung zu überwachen. Die Temperatur- und Feuchtigkeitsdaten werden alle 30 Minuten an die Steuerzentrale gesendet und auf dem LCD-Bildschirm des Raum-Sensors angezeigt.
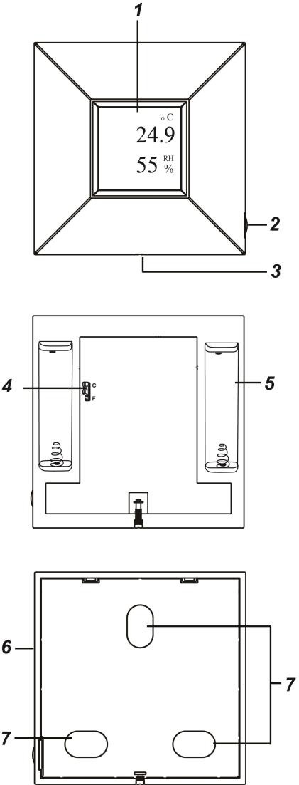
Teileidentifikation
1. LCD-Anzeige
Das LCD zeigt folgende Informationen an:
- Temperatur in Fahrenheit / Celsius Einstellung
- Luftfeuchtigkeit RH%.
- Niedriger Batteriestatus (
Symbol).
- LCD-Hintergrundbeleuchtung an: wenn die Testtaste gedrückt wird.
2. Testtaste
Drücken Sie die Taste einmal, um:
Sendet ein TestsSignal
Schaltet die LCD-Hintergrundbeleuchtung für 10 Sekunden ein
3. Basisschraube (Abdeckung öffnen/schließen)
Wenn die Frontabdeckung auf der Rückabdeckung montiert ist, öffnen Sie die Abdeckung, indem Sie die Basisschraube lösen, und schließen Sie sie entsprechend.

4. Fahrenheit / Celsius Einstell-Jumper (JP1)
Wenn die Jumperbrücke zwischen den oberen 2 Pins eingesetzt ist, zeigt das LCD die Temperatur in Celsius an. (Werkseinstellung)
Wenn die Jumperbrücke zwischen den unteren 2 Pins eingesetzt ist, zeigt das LCD die Temperatur in Fahrenheit an.
5. Batteriefach
Der Raum-Sensor wird von zwei AA 1,5 V Alkali-Batterien betrieben
6. Rückabdeckung
7. Bohrstellen für Wandmontage
Merkmale
Temperatur- und Feuchtigkeitsmessung
Der Raum-Sensor sendet alle 30 Minuten Temperatur- und Feuchtigkeitssignale.
Wenn sich die Temperatur um +/- 2 °C oder die Luftfeuchtigkeit um +/- 10 % ändert, sendet der Raum-Sensor ebenfalls ein Signal.
Der Temperaturmessbereich liegt etwa bei -10 °C – 50 °C. (14 °F ~ 122 °F)
Der Feuchtigkeitsmessbereich liegt bei etwa 0 % – 99 % rF
Batterie- und Niedrigbatterieerkennung
Der Raum-Sensor verwendet zwei 1,5 V Alkali-Batterien als Stromquelle. Die Batterien sind im Lieferumfang enthalten.
Der Raum-Sensor verfügt über eine Funktion zur Erkennung niedriger Batteriespannung. Wenn die Batteriespannung niedrig ist, sendet der Raum-Sensor ein Signal für niedrigen Batteriestand, um den Benutzer zu benachrichtigen, und zeigt ein Batteriesymbol auf dem LCD an.
Beim Batteriewechsel drücken Sie nach dem Entfernen der alten Batterien zweimal die Testtaste, um sie vollständig zu entladen, bevor Sie neue Batterien einsetzen.
Überwachung
Der Raum-Sensor sendet zusammen mit dem Messwert alle 30 Minuten ein Überwachungssignal, um seinen Zustand regelmäßig zu melden.
Den Raum-Sensor in die Steuerzentrale einlernen
Schritt 1
Versetzen Sie die Steuerzentrale in den Lernmodus. Bitte beachten Sie das Benutzerhandbuch Ihrer Steuerzentrale.
Schritt 2
Drücken Sie die Testtaste, um einen Lerncode an die Steuerzentrale zu senden.
Schritt 3
Beziehen Sie sich auf das Benutzerhandbuch der Steuerzentrale, um den Einlernprozess abzuschließen.
Schritt 4
Um die Reichweite zu überprüfen, versetzen Sie die Steuerzentrale in den Reichweitentestmodus (oder Walk-Test Modus). Bitte beachten Sie das Benutzerhandbuch der Steuerzentrale. Führen Sie den Reichweitentest der Steuerzentrale durch, indem Sie die Testtaste des Raum-Sensors drücken.
Schritt 5
Wenn Sie mit der Signalreichweite des Raum-Sensors am gewählten Standort zufrieden sind, fahren Sie mit der Montage fort.
Installation
Montage des Raum-Sensors
Für die beste LCD-Anzeigqualität sollte der Raum-Sensor etwa 5 Grad über Augenhöhe montiert werden.
Schraubmontage.
Bei der Montage mit Schrauben verwenden Sie nur die vom Hersteller im Lieferumfang enthaltenen Schrauben, da ungeeignete Schrauben das Innere des Geräts beschädigen können.
Entfernen Sie die Frontabdeckung mit einem Schraubendreher.
Durchbrechen Sie die Bohrstellen in der Rückabdeckung.
Verwenden Sie die Löcher als Schablone und bohren Sie Löcher in die Oberfläche.
Setzen Sie Dübel ein, wenn Sie in Putz oder Mauerwerk befestigen.
Schrauben Sie die Rückabdeckung in die Dübel.
Schrauben Sie die Frontabdeckung wieder auf die Rückabdeckung.
Zuletzt aktualisiert