# VESTA-169

**PRL1-ZW-AC**

## **Z-Wave relaiscontroller**&#x20;

<figure><img src="https://2034468523-files.gitbook.io/~/files/v0/b/gitbook-x-prod.appspot.com/o/spaces%2FZJzpNocHhYVmD43GZobR%2Fuploads%2FaINbCqdcv3QvLdx8fy4c%2Fimage.png?alt=media&#x26;token=179fe565-68e1-4cdf-82f5-5791419af463" alt=""><figcaption></figcaption></figure>

## **Inleiding**

PRL1-ZW-AC is een Z-Wave relaiscontroller die kan worden aangesloten op bekabelde apparaten en ingesteld kan worden op Normal Open (N.O.) of Normal Close (N.C.). Nadat deze is toegevoegd aan een Z-Wave-netwerk, kan de relaiscontroller via het Z-Wave-netwerk worden bestuurd om aangesloten apparaten te activeren. Z-Wave is een draadloos communicatieprotocol dat een laag-vermogen RF-radio gebruikt.

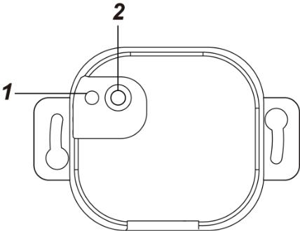
## **Onderdelenidentificatie**

<div align="left"><img src="https://2034468523-files.gitbook.io/~/files/v0/b/gitbook-x-prod.appspot.com/o/spaces%2FZJzpNocHhYVmD43GZobR%2Fuploads%2FOlqVznTB3OjvSDfrvjmi%2F0.jpeg?alt=media" alt="" width="214"></div>

1. **LED-indicator**

De LED-indicator wordt gebruikt om de relaisstatus aan te geven:

* LED Aan: Relay Aan
* LED Uit: Relay Uit

2. **Functieknop**

Druk 3 keer binnen 1,5 seconden op de knop om een leercode te verzenden.

Houd de knop 10 seconden ingedrukt om naar fabrieksinstellingen te herstellen.

Druk op de knop om het relais AAN/UIT te schakelen.

### **Aansluitingsterminalen**

<div align="left"><img src="https://2034468523-files.gitbook.io/~/files/v0/b/gitbook-x-prod.appspot.com/o/spaces%2FZJzpNocHhYVmD43GZobR%2Fuploads%2FRxDIaKYScIKCW5l3i89R%2F1.jpeg?alt=media" alt="" width="218"></div>

Om een draadverbinding te maken, duwt u de draad in de terminal en houdt u de draad op zijn plaats. Om een aangesloten draad te verwijderen, drukt u op de knop boven de terminal en verwijdert u vervolgens de draad.

3. **Gereserveerd**
4. **Lijn (AC-ingang)**
5. **Nul**
6. **NO:**  Voor normaal-open verbinding met het apparaat.
7. **Common**
8. **NC:**  Voor normaal-gesloten verbinding met het apparaat

## **Specificatie**

* Stroombron (externe voeding): 100-240VAC
* Relaisuitgang: potentiaalvrij SPDT-relais, maximale bedrijfsbelasting: 5A (weerstand) bij 24VDC of 240VAC
* Geslagen draad: 16-26 AWG
* Bedrijfstemperatuur: -10°C tot 45°C (14°F tot 113°F)
* Vochtigheid: Tot 85% niet-condenserend
* Afmeting: 71,1 mm x 49 mm x 26 mm

## <img src="https://2034468523-files.gitbook.io/~/files/v0/b/gitbook-x-prod.appspot.com/o/spaces%2FZJzpNocHhYVmD43GZobR%2Fuploads%2FJeK89LlBQmXuCkV1YqBv%2Fimage.png?alt=media&#x26;token=9c37c4e9-e8d5-43be-b2aa-971dd11433c3" alt="" data-size="line">**Installatieomgeving**&#x20;

* De relaiscontroller moet binnenshuis op een droge locatie worden geïnstalleerd.
* Het wordt aanbevolen het apparaat te installeren in een brandwerende kunststof inbouwdoos.
* Installeer het apparaat niet in een metalen inbouwdoos voor optimale RF-bereik.

## <img src="https://2034468523-files.gitbook.io/~/files/v0/b/gitbook-x-prod.appspot.com/o/spaces%2FZJzpNocHhYVmD43GZobR%2Fuploads%2Fi0XEvNCtKw61Y8JqUM3x%2Fimage.png?alt=media&#x26;token=c02ee99c-4fd6-478f-a90f-cf5ac1b1c1b7" alt="" data-size="line">**Voorzichtig** <img src="https://2034468523-files.gitbook.io/~/files/v0/b/gitbook-x-prod.appspot.com/o/spaces%2FZJzpNocHhYVmD43GZobR%2Fuploads%2FapvCBwFRVDQmjz1Ij1Bi%2Fimage.png?alt=media&#x26;token=2e6d89c4-4b41-4db7-a5e2-9bb88c85ad1e" alt="" data-size="line">

* Alle werkzaamheden aan het apparaat, inclusief installatie en onderhoud, moeten worden uitgevoerd door een gekwalificeerde en bevoegde elektricien.
* Om elektrische schokken en/of beschadiging van apparatuur te voorkomen, schakelt u de elektrische stroom uit bij de hoofdzekering of stroomonderbreker vóór installatie en onderhoud.
* Sluit het apparaat niet aan op belastingen die de ondersteunde stroomsterkte overschrijden.

## **Installatie**

De specificatie van de invoergaten voor bedrading is AWG 16-26 of Ø 1,31-0,129 (mm²).

Bedraad het relais volgens de onderstaande instructies:

![](https://2034468523-files.gitbook.io/~/files/v0/b/gitbook-x-prod.appspot.com/o/spaces%2FZJzpNocHhYVmD43GZobR%2Fuploads%2FwOcDhamSfcZh57lqVHKE%2F4.jpeg?alt=media)

1. Schakel de stroomvoorziening uit voordat u aansluitingen maakt.
2. Sluit de L- en N-terminals van de voeding aan op respectievelijk de Line- en Neutral-terminals van de PRL.
3. Afhankelijk van het apparaat dat u via het relais wilt bedienen, kiest u de NO- of NC-terminal en bedraad u het relais met het apparaat om een normaal-open of normaal-gesloten verbinding met het apparaat tot stand te brengen.
4. Na het voltooien van de bedrading van het apparaat, schakelt u de stroomvoorziening in om de relaiscontroller van stroom te voorzien.

{% hint style="danger" %}
*BELANGRIJKE OPMERKING:*

De bedrading van de PRL mag alleen worden uitgevoerd door een gecertificeerde technicus met de juiste kennis en opleiding in elektrische apparatuur.
{% endhint %}

## **Z-Wave-netwerk**

### ***Apparaat toevoegen (Inclusion)***

* Sluit de voeding aan op de relaiscontroller volgens de installatie-instructie in de vorige sectie en zet de relaiscontroller onder stroom.
* Zet de Z-Wave-gateway of het bedieningspaneel in **Inclusion-modus** (raadpleeg de handleiding van de Z-Wave-gateway of het bedieningspaneel).
* Druk binnen 1,5 seconden 3 keer op de functieknop.
* Raadpleeg de gebruiksaanwijzing van de Z-Wave-gateway of het bedieningspaneel om het toevoegproces te voltooien.
* Als het apparaat al is toegevoegd (inbegrepen) in een andere Z-Wave-gateway/bedieningspaneel, of als het apparaat niet kan worden toegevoegd aan de huidige Z-Wave-gateway/het huidige bedieningspaneel, probeer het dan eerst te verwijderen (zie ***Apparaat verwijderen***).

### ***Apparaat verwijderen (Exclusion)***

Het apparaat moet uit een bestaand Z-Wave-netwerk worden verwijderd voordat het aan een ander kan worden toegevoegd.

#### &#x20;**Exclusion-modus**

* Zet de Z-Wave-gateway of het bedieningspaneel in **Exclusion-modus** (raadpleeg de handleiding van de Z-Wave-gateway of het bedieningspaneel).
* Druk binnen 1,5 seconden 3 keer op de functieknop en het apparaat wordt verwijderd uit het Z-Wave-netwerk.

#### **Fabrieksreset**

* Het terugzetten van het apparaat naar de fabrieksinstellingen herstelt het naar de standaardinstellingen (d.w\.z. niet opgenomen in een Z-Wave-netwerk). Gebruik deze procedure alleen als de Z-Wave-gateway of het bedieningspaneel verloren is of anderszins niet werkt.
* Houd de functieknop van het apparaat 10 seconden ingedrukt om naar de fabrieksinstellingen te herstellen.

### ***Bereiktest***

Om te testen of het apparaat kan communiceren met de Z-Wave-gateway of het bedieningspaneel:

* Zet de gateway/paneel in de bereiktestmodus (Walk Test).
* Druk op de functieknop van het apparaat.
* De gateway/paneel zou moeten aangeven of het apparaat binnen het bedrijfsbereik valt (raadpleeg de gebruiksaanwijzing van de gateway/paneel).

## **Bediening**

### ***Relaisbesturing***

Wanneer de relaiscontroller met succes is toegevoegd aan een Z-Wave-netwerk, kan de gateway/het bedieningspaneel het relais op afstand besturen om Aan, Uit of te schakelen tussen Aan en Uit. Raadpleeg uw Z-Wave-gateway/bedieningspaneel voor details.

### **Z-Wave-informatie**

**Apparaattype:** Aan/Uit stroomschakelaar

**Roltype:** Always On Slave (AOS)

**Command Class-ondersteuning/Besturing**

**Verplichte CC-ondersteuning:**&#x20;

* Association CC, v2 of nieuwer
* Association Group Information CC
* Basic CC
* Binary Switch CC
* Device Reset Locally CC
* Manufacturer Specific CC
* Power level CC
* Version CC, v2 of nieuwer
* Z-Wave Plus Info CC

**Aanbevolen CC-ondersteuning**: Firmware Update Metadata CC

#### ***Z-Wave-groepen (Association Command Class versie 2)***

De schakelaar kan worden ingesteld om rapporten te verzenden naar geassocieerde Z-Wave-apparaten. Het ondersteunt één associatiegroep met vijf knooppunten voor Groepering 1. Voor groepering 1 zal de schakelaar zijn laatste status rapporteren aan de Z-Wave-gateway/het paneel.

Groep 1 voor “LifeLine”:

* Binary Switch CC (SWITCH\_BINARY\_REPORT)
* Device Reset Locally CC (COMMAND\_CLASS\_DEVICE\_RESET\_LOCALLY)
  * Automatisch rapporteren naar Groepering 1 (Maximum knooppunten 5)
  * Aan/Uit gebeurtenisrapport

Wanneer er tussen Aan/Uit wordt geschakeld, stuurt het een Binary Switch-rapport naar de knooppunten van Groepering 1.
